Bunker construit en 1943 sous maîtrise d’ouvrage de l’Organisation Todt. Il a ensuite été intégré aux installations de la Thalassothérapie de Roscoff.
- enquête thématique régionale, Inventaire des fortifications littorales de Bretagne
- enquête thématique régionale, Inventaire des héritages militaires en Bretagne
-
Lécuillier GuillaumeLécuillier GuillaumeCliquez pour effectuer une recherche sur cette personne.
Dossier non géolocalisé
-
Aire d'étude et canton
Bretagne Nord
-
Commune
Roscoff
-
Lieu-dit
Pointe de Roc'h Kroum,
Thalassothérapie de Roscoff
-
Adresse
16 Rue Victor Hugo
-
Cadastre
AB
615
-
Dénominationsblockhaus, casemate
-
Période(s)
- Principale : 2e quart 20e siècle
- Secondaire : 2e moitié 20e siècle
-
Dates
- 1943, daté par source
-
Auteur(s)
-
Auteur :
Organisation Todtingénieur militaire attribution par travaux historiquesOrganisation TodtCliquez pour effectuer une recherche sur cette personne.
-
Auteur :
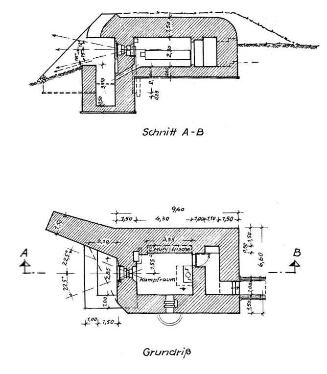
Construit en béton armé, ce bunker - casemate de type 676, conçu pour abriter un canon antichar, regroupe une chambre de tir (fermée à l'origine par une porte à deux vantaux de type 434P01) avec niche pour le stockage des munitions et une entrée. Devant la chambre de tir est aménagée en sous-sol une soute pour la récupération des douilles vides. Dalle de couverture et murs périphériques mesurent 1,5 m d’épaisseur.
Le bunker est masqué du côté de la mer par un chaos de granite appelé Roc’h Kroum. Son embrasure blindée (type 770P4) à rotule, orientée vers le nord-ouest et protégée par un mur de flanquement, permettait de prendre en enfilade l’entrée de l’anse de l’Aber et le chenal de l’Île de Batz. Son armement était constitué d’un canon antichar de 4,7 cm Skoda. Ce canon croisait son feu dans le chenal de l’Île de Batz avec le canon de 5 cm de la casemate de la Pointe de Perharidi (orientée vers le nord).
Deux soldats étaient nécessaires pour servir le canon Skoda.
Le bunker a été absorbé lors de l’agrandissement de la Thalassothérapie de Roscoff.
-
Murs
- béton béton armé
-
Toitsbéton en couverture
-
Plansplan rectangulaire régulier
-
Étagessous-sol
-
État de conservationbon état, remanié
-
Mesures
- l : 9,4 m
- la : 6,6 m
- h : 4,6 m
-
Précision dimensions
Selon le catalogue des plans-types, la réalisation d'un bunker - casemate de type 676 (Kleinstschartenstand für 4,7 cm FestungsPaK) a nécessité 355 m3 de béton, 16 t de fer rond et 2,2 t de fer profilé. Ce bunker comporte théoriquement une porte à deux vantaux de type 434P01 et une embrasure blindée de type 770P4 recevant la rotule.
-
Statut de la propriétépropriété privée
-
Intérêt de l'œuvrevestiges de guerre, à signaler
-
Éléments remarquablesblockhaus, casemate
- (c) Collection particulière
- (c) Inventaire général, ADAGP
- (c) Collection particulière
- (c) Collection particulière
- (c) Inventaire général, ADAGP
Bibliographie
-
ROLF, Rudi. Atlantikwall-Typenheft. Atlantic Wall typology. Typologie du Mur de l'Atlantique. Middelburg, PRAK publishing, 2008, 432 p.
Documents figurés
-
Dessins de Patrick Fleuridas. Belgian Bunkersite (http : //www.bunkers.be).