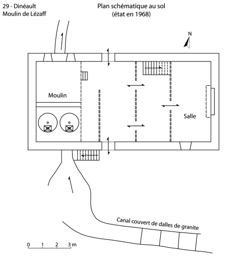
Ancien moulin, le Moulin de Lezaff (Dinéault),
Plan schématique au sol. Etat en 1968Immatriculation
IVR53_20092909505NUC
Auteur de l'illustration
(reproduction)
-
Maillard FlorentMaillard FlorentCliquez pour effectuer une recherche sur cette personne.
Copyright
Diffusion
reproduction soumise à autorisation du titulaire des droits d'exploitation
Type
phototype numérique
Besoin d'informations sur cette illustration ?
Nous contacter
Informations techniques
-
Technique de relevé
- relevé schématique