Dossier d’œuvre architecture IA00006534 | Réalisé par
  • inventaire topographique
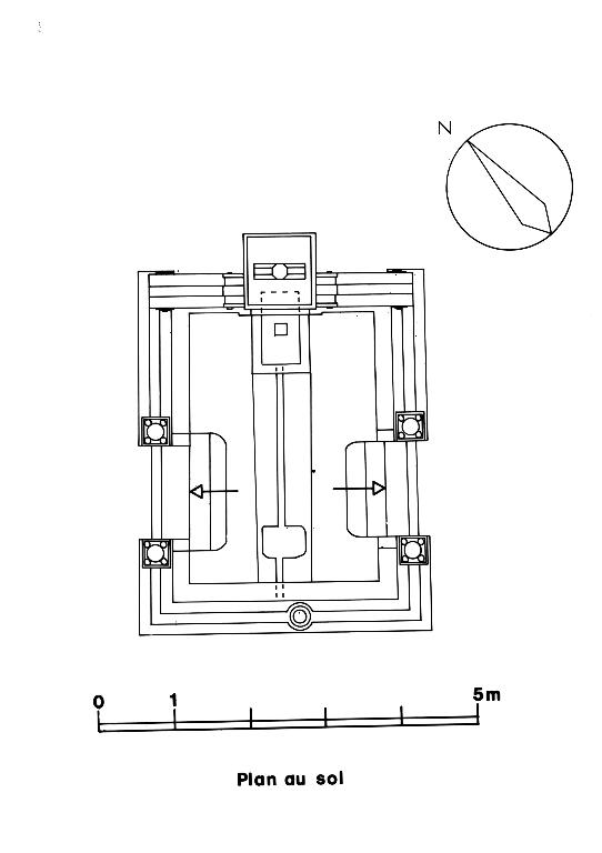
Fontaine de dévotion Sainte-Édiltrude, Santes-Ventroc (Tréflez)
Œuvre étudiée

Dossier non géolocalisé

Localisation
  • Aire d'étude et canton Plouescat - Plouescat
  • Commune Tréflez
  • Lieu-dit Coz Ilis
  • Cadastre 1984 C2 492
  • Dénominations
    fontaine de dévotion
  • Vocables
    Sainte-Édiltrude , Santes-Ventroc
  • Parties constituantes non étudiées
    croix monumentale

Fontaine de dévotion Sainte-Ediltrude ou Santes Ventroc.

  • Période(s)
    • Principale : 18e siècle
  • Murs
    • granite pierre de taille
  • Techniques
    • sculpture
  • Mesures
    • h : 635 cm
    • l : 515 cm
    • la : 385 cm
  • Statut de la propriété
    propriété de la commune

Bibliographie

  • COUFFON, René, LE BARS, Alfred. Répertoire des églises et chapelles du diocèse de Quimper et de Léon. Saint-Brieuc : les Presses bretonnes, 1959.

    Région Bretagne (Service de l'Inventaire du patrimoine culturel)
    p. 446
  • CASTEL, Yves-Pascal. Atlas des croix et calvaires du Finistère. Société archéologique du Finistère, 1980.

    Région Bretagne (Service de l'Inventaire du patrimoine culturel)
    p. 354-355, n° 3003
  • LE DEUNFF, Roger. Le chemin des fontaines bretonnes. Dinard : Danclau, édit., 1996.

    Région Bretagne (Service de l'Inventaire du patrimoine culturel)
    p. 37, fig.
  • Le patrimoine des communes du Finistère. Paris : Flohic, éditions, 1998. (Le patrimoine des communes de France).

    Région Bretagne (Service de l'Inventaire du patrimoine culturel)
    p. 1036
  • SPOERRI, Daniel, PLESSEN, Marie-Louise. Guide des cent dix-sept fontaines sacrées de Bretagne. Rituels de guérison. Paris : Jean-Michel Place, éd., 2004.

    Région Bretagne (Service de l'Inventaire du patrimoine culturel)
    p. 268-269, fig.

Documents figurés

  • Tréflez. Cadastre napoléonien, section C2 du bourg. Levée par M. Ridel, géomètre, 1836, échelle 1/2500 e.

    Archives départementales du Finistère : Série 3 P 287/9
  • JEAN-HAFFEN, Yvonne. Fontaine Sainte-Édiltrude. Dessin, [s. d.], 2e moitié 20e siècle.

    Maison d'artiste de la Grande Vigne -Ville de Dinan
Date(s) d'enquête : 1985; Date(s) de rédaction : 1986, 2015
Articulation des dossiers